
苹果发布会下周就开幕了!这次很可能会公布苹果汽车的相关消息。
多年来,苹果造车已是公开的秘密。进入 2021 年以来,相关消息出现的密度更是大幅增加。据日韩和中国台湾媒体报道,该公司正广泛与车企和供应商接触,以寻求纯电车辆平台和零部件支持。
所有这些消息都暗示苹果汽车已经到了临门一脚的地步,所以今年发布会的 one more thing 也非常值得期待。就在苹果昨夜公布秋季发布会消息后,其总市值一度逼近 2.6 万亿美元,可见苹果的影响力与号召力之强。
作为全球科技界一哥以及全球市值最高的公司,苹果汽车推出后大概率会重新发明汽车,改变现有的汽车产业格局。
虽然目前外界并不知道苹果到底要造台什么样的车,但能确定的是一定要搭载自动驾驶技术。
然而颇具讽刺意味的是,在刚刚过去的 8 月份,苹果却接连被曝出两起自动驾驶事故。苹果特殊项目团队(Special Projects Group, SPG)副总裁 Doug Field 日前也从苹果跳槽至福特,不由得让人给苹果汽车捏了一把汗。
那么苹果的自动驾驶事故到底怎么回事,是技术不行还是无辜被撞?苹果自动驾驶的研发进展如何,能否给苹果汽车提供出优秀的自动驾驶系统呢?
早在 2017 年 4 月,苹果就开始在加州的公开道路上进行 L4 级自动驾驶测试,到现在已经 4 年有余。
然而,从 4 年多的测试来看,苹果在 2019 年经历了一次低潮期,2020 年的新冠肺炎疫情也让自动驾驶测试停滞数月。直至今年,自动驾驶测试才再次抬头。

▲ 苹果自动驾驶测试车
有趣的是,就在近期,苹果的自动驾驶测试车居然还发生了两起事故。要知道,苹果的自动驾驶测试车上次发生事故还在 2 年前。
近期第一起事故发生在今年 8 月 19 日,当晚 9:30,苹果改装的雷克萨斯 RX450h 在圣地亚哥零售中心的停车场内发生交通事故。事发时,一辆现代索纳塔从车库内向外倒车,撞上了苹果测试车的前保险杠右侧。

▲ 8 月 19 日事故事发地(Google 街景)
事发时,苹果测试车处于手动驾驶模式。碰撞前,苹果测试车驾驶员采取制动,车辆完全停止后,被现代索纳塔撞上。
此次事故中,没有人员伤亡,但两辆车都出现了轻微损坏。
另一起事故就在 4 天后,8 月 23 日早间,同样还是一辆改装的雷克萨斯 RX450h,在 Cupertino 零售中心的停车场内发生事故。事发时,一辆斜停在停车场内的斯巴鲁汽车低速倒车,撞上了苹果测试车的后保险杠。

▲ 苹果自动驾驶车辆事故报告
在这起事故中,苹果测试车处于停止状态,且未在自动驾驶模式中。同时,这起事故中也没有人员伤亡,但两辆车都出现了损伤。
两起事故事发时,苹果测试车都没有处于自动驾驶模式。不过,从苹果自动驾驶测试的历史来看,此前 4 年的测试总共发生 3 起事故,上一起还是 2019 年 9 月。
显然,伴随着苹果自动驾驶测试的抬头,测试车的事故也难以避免。
实际上,仅凭两起事故并不能判断苹果自动驾驶测试的抬头。从测试车数量分析,苹果的测试确实正在崛起。
2017 年 4 月,苹果的自动驾驶测试车仅有 3 辆,当年年底增加到了 8 辆车。2018 年是苹果自动驾驶测试的高潮,当年全部 62 辆车都投入了测试。测试车数量最多的时候,苹果拥有 72 辆车。
而在 2019 年之后,测试车数量缓慢减少,一度减少到 66 辆,同时自动驾驶安全员的数量也在减少。
直至今年,测试车减少的趋势才有扭转。今年 5 月和 8 月,苹果增加了两辆自动驾驶测试车,目前共有 69 辆测试车。自动驾驶安全员的数量也在同步上升。今年 5 月,苹果仅有 52 名安全员,而到了 7 月增加到 92 名。
从这个角度看,苹果自动驾驶测试确实正在抬头。
路测 4 年来,苹果的测试规模已经是硅谷“老三”,仅次于美国的自动驾驶老大 Waymo 和老二 Cruise。
不过,苹果这个第三名相比第一、第二的距离有点大。
谷歌母公司 Alphabet 旗下的自动驾驶公司 Waymo 现在共有 615 辆车,1244 名安全员,并且部分车辆已经拿掉了安全员,名副其实自动驾驶老大。
通用汽车旗下的自动驾驶公司 Cruise 共有 201 辆车,测试规模小了不少,但安全员数量也达到 903 人。
然而,苹果作为第三名,仅有 69 辆车,92 名安全员,测试规模差距显而易见。
测试成果如何呢?
在行业内,普遍用 MPD 值(Miles Per Disengagements,平均每次脱离行驶的距离)描述自动驾驶的成果。如果 MPD 值越高,代表其自动驾驶能力越强。
苹果进行公开道路自动驾驶测试的首年,其 MPD 值为 0.12 英里(约合 193 米),这个成绩确实算不上好。当年,苹果的测试里程为 838 英里(约合 1348.6 公里),但人工干预的次数达到 7074 次。
进入测试的第二年,也就是 2018 年,苹果的自动驾驶才有了明显进步,但是实际效果仍然不太行。这一年的 MPD 值为 1.15 英里(约合 1.85 公里),相比前一年的不到 200 米提升了接近 10 倍。
同时,2018 年也是苹果自动驾驶测试最积极的一年,当年一共跑了 79745 英里(约合 12.83 万公里),但是脱离次数也达到了 6.9 万次。
2019 年,苹果的自动驾驶测试总里程大幅下降,仅有去年的 1/10 左右,为 7544 英里(约合 1.2 万公里)。但是,自动驾驶成果提升很明显,MPD 值达到了 117.88 英里(约合 189.71 公里),相比前一年的数据提升了近百倍。
2020 年,受新冠肺炎疫情影响,3 月~5 月间苹果自动驾驶测试完全停止,6 月起才逐渐恢复。2020 年全年,苹果自动驾驶测试里程为 18805.4 英里(约合 3.03 万公里),人工干预次数仅有 130 次,MPD 值达到了 144.6 英里(约合 232.71 公里)。
不过,这个成绩相比于 Waymo 还是有不小的差距。2020 年,Waymo 共有 239 辆测试车,跑了 62.88 万英里(约合 101.20 万公里)。
然而,车内安全员的干预次数全年仅有 21 次!Waymo 的 MPD 值达到了 29944.69 英里(约合 4.8 万公里)。
看来苹果的自动驾驶相比头部玩家,还有不小距离还需要好好努力。
苹果的努力方向之一是增加测试规模,其二就是加大研发投入,简单来说就是花钱。
就在本周一,有消息称苹果花费 1.25 亿美元买下了一个试车场。这一试车场位于美国亚利桑那州,占地 5458 英亩(约合 22.09 平方千米),在此之前,这里是克莱斯勒汽车的试车场。

▲ 测试车场卫星图
对于未发布的产品,苹果认为保密才是最重要的。因此,这个试车场的直接买家并非苹果。
有消息称,2017 年开始,苹果就通过代理公司租下了这一试车场,试车场内有各种模拟路况,可以全面测试车辆在各种工况下的性能表现。
而在这个场地当中,苹果可以测试更加超前的产品,而非直接到公共道路上测试。既保证了安全,同时也有很强的保密性。相信未来几年,这一个试车场无论是对于苹果的整车项目,还是自动驾驶,都有重要意义。
作为全球市值第一的公司,同时可能也是最赚钱的公司,苹果早已富可敌一众小国。从苹果的财报中可以看到,其毛利超过 40%,这是大多数公司想都不敢想的数字。
虽然苹果现有产品线顺风顺水快速增长,但苹果的造车项目却并非如此。实际上,从 2014 年前后开始的苹果造车项目,至少经历过两次重大震荡。
2013 年,苹果推出手机映射系统 CarPlay,基于 iOS 系统,车辆的车机也能和手机拥有差不多的使用体验,近几年 CarPlay 几乎就成为了合资车和进口车的标配。
然而,苹果的汽车野心远不止于此。2015 年,苹果租了一辆道奇 MPV,在车顶加装了多个摄像头。成为苹果汽车项目的催化剂。
随后,苹果开始大量招聘汽车人才,特别是在特斯拉有过实战经验的人才。
苹果造车项目快速上马,由时任产品设计副总裁 Steve Zadesky 领导,并汇报给时任苹果高级副总裁 Dan Riccio。苹果造车项目 Project Titan 高歌猛进,2015 年团队人数就达到了 1000 人。

▲ 时任苹果产品设计副总裁 Steve Zadesky
然而,热度持续了不到一年时间,苹果 Titan 项目就面临着第一次转折,Steve Zadesky 离开了造车团队。苹果聘请已经退休的前任高级副总裁 Bob Mansfield 接手项目,从 Mansfield 接手之后,苹果从造车逐渐转向研发自动驾驶系统。

▲ 时任苹果高级副总裁 Bob Mansfield
2017 年开始,苹果改装的雷克萨斯 RX450h 上路测试至今。
有消息称,这些雷克萨斯 RX450h 也不是苹果买的,而是从租车公司 Hertz 租来的。由此可见,苹果虽然不差几十辆车的钱,但还是能省则省。
去年年底,掌管造车项目的 Bob Mansfield 再一次退休,取代他的是苹果机器学习和人工智能战略高级副总裁 John Giannandrea。此时,苹果的造车项目再次迎来重要变化。
一直研发自动驾驶系统的苹果,再次回归制造整车。从去年开始,苹果在亚洲多地寻找合作伙伴,包括台积电、LG 能源解决方案、现代汽车、起亚汽车,苹果造车再一次被提上了日程。
然而,此次苹果重启造车,与几年前已经完全不同。
如今,全球主要汽车市场中国、欧洲的新能源车渗透率都超过 10%。乘联会公布的数据显示,今年 8 月,国内零售新能源车渗透率达到 17.1%。此外,特斯拉 Model 3 一款车的累积销量已经超过百万辆,这与五年前的汽车市场已经不能同日而语了。
不过,今年以来,国内又出现了一批造车新势力,小米、集度等正在发力。而苹果,在整车制造的层面,和这一批新势力的进展或许差不多。
苹果造车项目主帅更换之后,项目中的多位高管也相继被更换。
今年年初,彭博社曾报道了苹果造车团队的 13 名核心成员,而目前,已经有 4 名成员离职。

▲ 苹果汽车项目核心团队(灰色为已经离职人员)
就在昨天,苹果造车项目的核心成员 Doug Field 离职,并加入福特汽车。
Doug Field 从 80 年代就在福特汽车做工程师,此后加入苹果。第一次离开苹果后,Doug Field 加入特斯拉,最高职位是高级副总裁。电动汽车领域的王牌车型特斯拉 Model 3 就是 Doug Field 一手领导打造的。
显然,苹果希望 Doug Field 能够打造一款具有苹果属性的智能电动汽车。
有分析指出,核心团队成员的离职,是苹果造车项目的一大损失。实际上,看待苹果造车项目也不能过于武断,剩余的核心团队或许将有更高的凝聚力,专注打造一款智能汽车。
未来 3~5 年,或许我们就能看到苹果打造的智能电动汽车。
在硅谷,苹果自动驾驶早已是公开的秘密。
然而为了保密,苹果高管团队中,只有 CEO Tim Cook 公开发表过对自动驾驶的看法。不过,这已经是 2017 年的旧闻。
当时,Tim Cook 接受采访时说:“我们正专注于自动驾驶系统。我们认为这是一个重要的核心技术。我们认为,这是所有 AI 技术之母,同时可能也是最困难的 AI 项目之一。”

▲ 苹果 CEO Tim Cook
从去年年底开始,苹果造车的传闻达到了甚嚣尘上的地步,即便如此,只要谈到汽车或者自动驾驶,Tim Cook 的回答有“拒绝回答”、“让我们走着瞧”等等非常模糊的语句。
想要苹果高管开口,恐怕只有等苹果的“下一场”发布会了,相信造车项目已经憋了接近 10 年的苹果,届时会给市场一个惊喜。
在发布之前,我们也能从苹果的专利中获取不少信息。
2019 年开始,苹果不断获得汽车相关专利,目前专利总数超过 100 件。根据不完全统计,自动驾驶相关的专利就达到了 23 项。其余专利也大多与车辆的智能化相关,还有部分专利关乎汽车安全和机械构造。
自动驾驶领域中,苹果的专利已经涉及自动驾驶的传感器、通信、控制等核心领域。
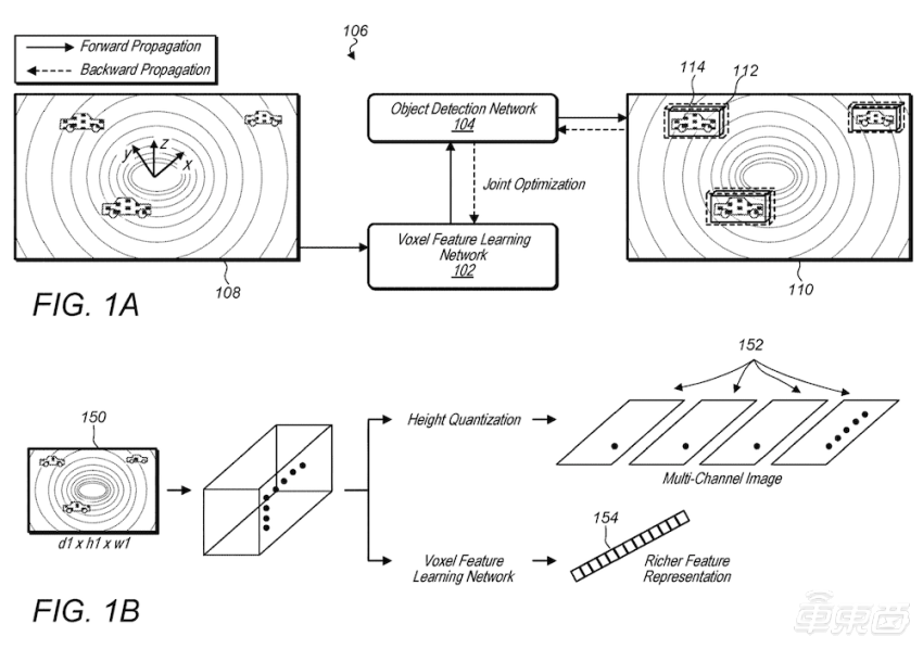
在感知层面,苹果获得了一项名为《体素特征学习网络》的专利,利用 3D 体素特征学习/检测网络捕获细微的 3D 形状信息,从而实现物体识别。

▲ 3D 体素特征学习/检测流程
相比于此前的点云对象检测网络,3D 体素特征学习/检测网络的检测精度可以从此前的 88% 提升至 89.2%,并且平均方向误差可以从此前的 2.5 度减少为 0.82 度。
这一检测方法可以用于检测道路上行驶的车辆、行人、骑行者等多种物体。
目前,苹果希望走的自动驾驶路线仍然是传感器融合,包括使用激光雷达、摄像头、毫米波雷达、超声波雷达等,而非纯视觉感知。
实际上,苹果也已经将传感器融合技术装进了手机和平板电脑中,去年开始,苹果的 iPad Pro 以及 iPhone 12 Pro 系列都搭载了激光雷达,在 AR 测距、夜间对焦能力上有了明显进步。
不过截至目前,还没有消息称苹果会将手机中学习的数据迁移到自动驾驶当中。
在决策环节,苹果的一项专利中采用了和谷歌 Alpha GO 类似的机器学习方法,即蒙特卡洛树搜索,这一机器学习方法已经广泛应用于棋盘类游戏和开放式游戏。
因此,车辆的自动驾驶被简化为两个步骤:
1、预测即将发生的交通状况,对车辆的行驶轨迹作出多种规划;
2、从多种规划中选择出一个正确的驾驶动作。
当车辆进入自动驾驶状态后,可以根据交通状况规划出在一定时间范围内的车辆动作,包括加速、减速、改变车道等,这些动作可以通过蒙特卡洛搜索树生成。

▲ 蒙特卡洛树搜索的四个步骤
实际应用中,苹果的决策过程显得更加复杂。通过向不同的蒙特卡洛树搜索模型提供记录下的车辆动作、来自模拟的动作以及收益,在强化学习策略神经网络、监督式学习价值神经网络的蒙特卡洛树搜索分别可以提升广度和深度。
反观苹果的自动驾驶成果,其在算法层面还需要更多进步。
汽车“新四化”早已是汽车行业共同的目标。显然,Apple Car 将是苹果智能化的集大成者,其核心也将是 Tim Cook 口中的 AI 领域最艰难的一环 —— 自动驾驶。
面向未来出行场景,这家 2.5 万亿美元市值的公司,能否再打造出颠覆性创新的产品,惊艳整个汽车市场呢?让我们拭目以待。