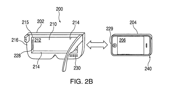
对于视力缺陷用户来说,其在使用各种智能眼镜的时候,最苦恼的莫过于需要自行寻找医学镜片的解决方案。然而根据美国专利商标局(USPTO)近日向苹果授予的一项专利,新技术或允许苹果增强现实眼镜针对佩戴者的视力进行自动校正。专利插图显示该方案提供了可滑入 iPhone 智能机的框架,然后通过内部接口来作为显示器。

虽然苹果多次使用“带有显示组件的便携式头戴电子装置”的专利名称,但每次又在设计中引入了不同的变化。
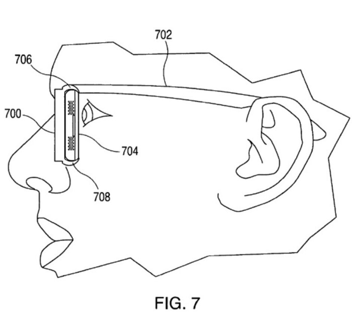
在此类专利的一个新版本中,该公司就提到了一套有趣的系统,能够根据佩戴者的医学镜片来自动调节光学组件的位置和配置。
这么足的好处,就是用户无需多戴一副镜架(或隐形眼镜),即可享受增强现实内容。除了调整镜头配置以弥补用户的视力,该技术还能够让图像看起来更加清晰。

插图描绘了可滑入智能机来作为 AR 眼镜的显示屏
从专利描述来看,增强现实眼镜的调节功能,其实来自于与之配对的 iPhone —— 正如初代 Apple Watch 依赖与之配对的 iPhone 来执行主要功能那样。
当然,在几次迭代之后,Apple Glass 最终有望脱离 iPhone 单独使用。如果一切顺利,我们有望在明年正式见到它的身影。

上个月的时候,知名爆料人 Jon Prosser 在 Twitter 上分享了一批图像,展示了看似一副传统眼镜的 Apple Glass 的样子,并且似乎可选配医学镜片。
若真如此,那初代 Apple Glass 或无缘自动调节镜头的功能。至于消费者是否会对这款 499 美元的产品感兴趣,仍有待时间去检验。